Home O anténách       Kontakt

      
 
  Rotační dipóly



Drátové antény
Vertikální antény
Vertikál pro kempování - modifikovaný Rybakov
Logaritmicko-periodická anténa pro pásma 10m až 20m
Rotační dipól

 

Úvod

Potřeboval jsem mít jednoduchou anténu nepříliš velkých rozměrů, která by pracovala na pásmech od 10 m do 20 m. V té době jsem již měl v provozu vynikající směrovku a úspěšnou zkušenost s podstatně větší logaritmicko-periodickou anténou. Na rotačním dipólu je fascinující to, že se jedná o lehkou anténu malých rozměrů. Takovou anténou lze otáčet pomocí malého a levného TV rotátoru.

Podrobnosti o zkonstruované anténě lze stáhnout tady.

Na obrázku je pětipásmový elektricky laděný rotační dipól:

 

 

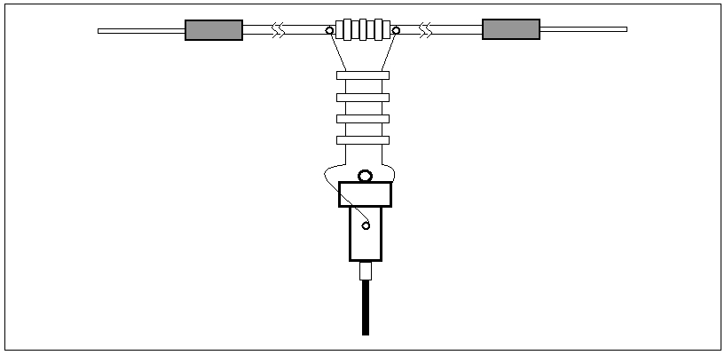
Zkrácené rotační dipóly s tunerem jsou v každém případě technicky zajímavým řešením. Nicméně, vždy nepotřebujeme všechna pásma a existují i jiná řešení. Velice dobrých výsledků jsem dosáhl s trapovanými dipóly. Kolem trapů existuje celá řada mýtů a pověr. Mnoho radioamatérů je zatracuje, jiní na ně nedají dopustit. Patřím spíš k té druhé skupině. Nikdy jsem s trapy neměl sebemenší potíže. A trapované antény mě překvapily svými výsledky, zejména hezkými vyzařovacími diagramy. Proto ani v kategorii rotačních dipólů nechybí trapovaný dipól. Můj trapovaný dipól vypadá schématicky takto:

Jak to funguje? Provedení, jehož diagramy a fotografii dále uvidíte je otočný trapovaný dipól zkonstruovaný z Al tenkostěnných trubek. Je určen pro pásma 12 a 17 metrů a byl navržen na počítači. Délka zářičů pro pásmo 12m je cca 2 x 2.5 metru, celková zkrácená délka je maličko přes 2 x 3 metry. Protože dipóly, které rezonují na těchto kmitočtech mají v potřebných výškách 12 až 15 metrů reálnou složku imepdance více než 50 Ohmů, např. 70 až 80 Ohmů, byl použit transformační vedení (žebříček) mezi dipólem a balunem (s délkou mezi 60 - 80 cm). Díky tomu bylo dosaženo impedance na rezonančních kmitočtech nepatrně pod 50 Ohmů. Dipól má na obou kmitočtech poměrně velkou šířku pásma a vynikající přizpůsobení. Konečně, posuďte sami:

Žebříček má ještě jednu funkci. Protože trapovaný dipól pro WARC pásma může posloužit hamům, kteří mají dobrý a spolehlivý trapovaný tribander 10-15-20 metrů, bylo třeba vyřešit připojení tohoto dipólu k nalunu tribanderu. Rešení samozřejmě existuje víc, Můžete se podívat, jak se s tím vypořádaly firmy, které měly vyvinuté a vyráběly vynikající tribandery. Není to však až tak jednoduché, pokud se s tím máme vypořádat na tribanderu, který již máme doma a nechceme se ho vzdát. Tento dipól se neinstaluje na ráhno, ale na trubku stožáru nad či pod tribander, ve vzdálenosti, kterou dovolí žebříček (např. půl metru). Svorky žebříčku se připojí pod šroubky na balun tribanderu.

Fotografie trapovaného dipólu při měření:

Ještě s jednou skutečností bych se chtěl pochlubit. Tento trapovaný dipól pro WARC pásma byl precizně navržen pomocí SW, CAD programu na optimalizaci antén. Parametry trapů byly zadány podle naměřených hodnot, tj. L, C, Q a nominální rezonanční kmitočet. Dipól byl vyroben s obvyklou přesností z trubek, které byly zadány pro návrh "tubingu". Překvapily mě dvě věci - dipól jsem nemusel při prvním měření doladit ani nastavit ani na jednom pásmu! Výpočet seděl naprosto přesně a měřil jsem v návrhové výšce. Seděly přesně i impedance, které se měly naměřit v kontrolní výšce 4.5 metru. V této výšce kontroluji všechny antény. Jakákoliv porucha se již v této výšce u antén pro pásma 10 až 20 metrů jednoznačně projeví. Na střeše dipól vypadá takto:

Nyní rovněž vím, že se mohu spolehnout na další dvě věci. Moje přístroje přesně změří v této výšce reálnou a jalovou složku impedance. Toto bych však netvrdil v oblasti nízkých impedancí o přístrojích, které nutí radioamatérům trh :-), ale nebudu pomlouvat. Dobré CAD programy pro návrh antén mohou ušetřit mnoho experimentů s mechanickým seřizováním prvků. A tak se těším, že nezůstane jen u návrhu těchto dipólů, protože lze přesně navrhnout opravdu hezké směrové antény s vynikajícími parametry.

73's Věra & Míra, ok1ufc

Návrat nahoru


© 2011 - Věra Šídlová a Míra Šídlo, ok1ufc, datum poslední úpravy: 12.01.2014